Пневматическая заглушка ПЗУ-5КМВ для экстренного и герметичного перекрытия труб от 800 до 1200 мм.
Оболочка из маслобензостойкой резины с кронштейном в комплекте рукав 5м с выносным клапаном
Применение: Водопроводные, канализационные сети (с демонтажом после применения)
Срок поставки заглушки ПЗУ-5КМВ 5-7 дней
Пневматические заглушающие устройства в маслобензостойком исполнении:
Оболочка из резины с кронштейном в комплекте со штуцером вентиля и выносным клапаном
Как установить пневмозаглушку при проведении работ на канализационных сетях

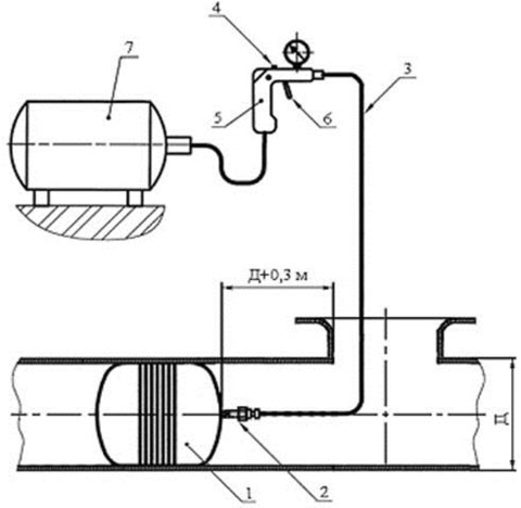
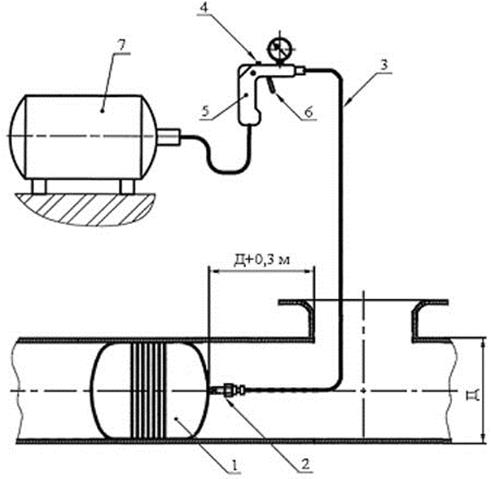
1 – Узел подачи воздуха; 2 – Ниппель; 3 – Узел контроля давления; 4 – Заглушка клапана; 5 – Лебедка; 6 – Трос лебедки; 7 – Источник сжатого воздуха; 8 – Шнур; 9 – Рукав; 10 – Серьга; 11 – Кронштейн; 12 – Вентиль; 13 – Скоба (серьга); 14 – Герметизатор ПЗУ; 15 – Штуцер М24х1,5; 16 – Переходник V8;
а) схема соединения пневмосистемы для ПЗУ-3, ПЗУ-4, ПЗУ-5;
б) схема соединения пневмосистемы для ПЗУ-2
Работа с пневмозаглушкой не предусматривает каких-то особых сложностей. Хотя использование пневмозаглушек в каждом конкретном случае имеет свои нюансы, в общем виде потребуется выполнить несколько шагов.
Весь процесс установки и демонтажа пневмозаглушек для трубопроводов и канализации занимает несколько минут. При правильном выполнении каждого этапа устройства перекрывают полости абсолютно герметично, полностью исключая вероятность протекания. После продувки и просушки они готовы к дальнейшему многократному использованию. Поврежденные в процессе эксплуатации заглушки подлежат несложному в большинстве случаев ремонту.
|
Обозначение |
Диаметр трубы, мм |
Давление жидкости в трубе, Атм |
Давление воздуха в Пневмозаглушке, Атм |
Диаметр Пневмозаглушки, мм |
Длина Пневмозаглушки (оболочки), мм |
Масса, кг |
|
ПЗУ-5 |
800-1200 |
1,0 |
3,0 |
780 |
1355 |
67 |
Пневмозаглушки имеют сертификат утвержденного образца, сопровождаются инструкциями и журналами эксплуатации, подробным описанием процесса монтажа и демонтажа, требованиями безопасности, указаниями по хранению и транспортировке, гарантиями изготовителя.
| Бренд | ДКТ |
ДКТ
Отзывы